中国汽车工程师之家--聚集了汽车行业80%专业人士 

论坛口号:知无不言,言无不尽!QQ:542334618 

本站手机访问:直接在浏览器中输入本站域名即可 

  • 13265查看
  • 16回复

(原创)日产VVEL可变气门技术原理

[复制链接]


该用户从未签到

发表于 25-7-2008 21:27:09 | 显示全部楼层 |阅读模式

汽车零部件采购、销售通信录       填写你的培训需求,我们帮你找      招募汽车专业培训老师


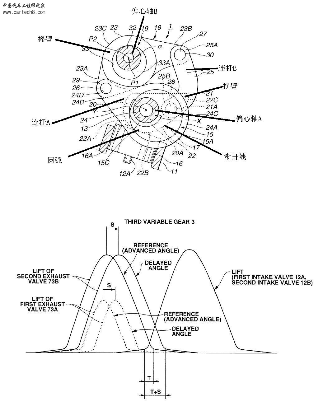
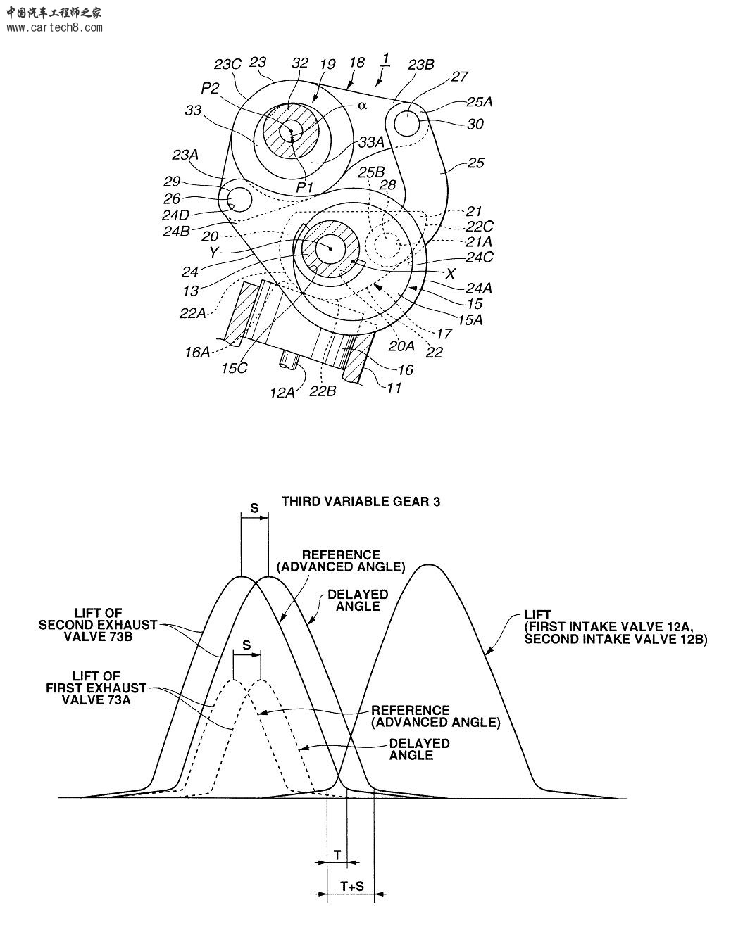
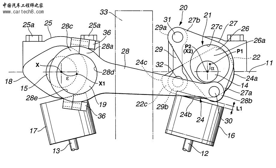
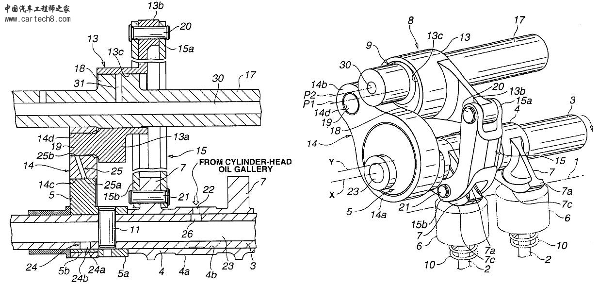
日产的这项VVEL技术说是很先进,其实从原理来讲并不复杂,结合以下的几幅图大家可以很快就明白其

中的机械原理。以下面第一幅图为例图说明。
  
   VVEL中有两根偏心轴,下面的是发动机正时传动驱动的,上面的用步进电机驱动,为了区分将下面的

命名为偏心轴A,另一个为偏心轴B。偏心轴A提供开启气门的驱动力,实际上偏心轴A不能直接驱动气门

,它的型线不符合气门运动的型线,偏心轴A提供的驱动力必须经过加工转化才能符合要求。如何转化的

呢?大家以转动偏心轴A为出发点分析传动路径。偏心轴A旋转带动连杆A,连杆A带动摇臂以偏心轴B的大

圆心摆动,偏心轴B不动,摇臂通过连杆B带动摆臂摆动,由于连杆A做往复运动,所以摆臂有一个恒定的

摆角,图中我们看到摆臂是驱动气门挺柱的部件,气门挺柱顶端与摆臂接触,摆臂在以某个角度往复摆

动的过程中气门挺柱与摆臂接触的部位分为两个部分,一部分是圆弧,另一部分是渐开线。与圆弧接触

时气门不开启,与渐开线接触时气门开启,显然在渐开线部分的摆角越大气门开启的升程越大。

   如何调节气门升程?如果要增大气门升程,只需转动偏心轴B,使摇臂的右端向下移动使摆臂起始摆

动位置更接近渐开线,这样在渐开线部分的摆角增大气门升程增大。反之则减小气门升程。

例图

例图
6513467-0-large123.JPG
6568361-0-large.JPG
6598570-0-larg123.JPG
6691654-0-large.JPG
6694935-0-large123.JPG
6874456-0-large123.JPG

评分

参与人数 1积分 +14 收起 理由
cartech8.com + 14 原创帖子【论坛口号→知无不言,言无不尽】

查看全部评分



该用户从未签到

 楼主| 发表于 28-7-2008 10:23:28 | 显示全部楼层

动画解说

日本网上的,他做的有些错误,但基本如此
min.gif


该用户从未签到

发表于 30-10-2008 21:46:47 | 显示全部楼层
问一下,看了看LZ的说明,有个疑惑。偏心轴A不是做的整周运动么?那样的话,到底是怎么回事呢?


该用户从未签到

发表于 3-3-2009 20:50:56 | 显示全部楼层
听过vvt,但对这个还不理解。看来lz的解释,但可惜不懂。不过还是谢谢lz!
回复 支持 反对

使用道具 举报



该用户从未签到

发表于 3-3-2009 21:20:09 | 显示全部楼层
像上专利上的图,有点难看懂,但是换汤不换药,VVT技术和VVL技术就是一个变正时,一个变升程!
回复 支持 反对

使用道具 举报



该用户从未签到

发表于 7-8-2009 12:57:49 | 显示全部楼层
LZ把专利上的图贴过来,至少证明看过了。

Nissan是把VVEL可变气门行程和C-VTC连续气门正时技术一起放在发动机上的。

评分

参与人数 1积分 +1 收起 理由
清雅轩 + 1 鼓励讨论【重在参与,不以对错论英雄】

查看全部评分

回复 支持 反对

使用道具 举报



该用户从未签到

发表于 12-8-2009 20:48:48 | 显示全部楼层
专利上的图,传说中可变升程的一种。。。。楼主解释的挺清楚了。。
回复 支持 反对

使用道具 举报



该用户从未签到

发表于 14-9-2009 13:33:11 | 显示全部楼层
谢谢分享,双凸轮轴的驱动情况是怎么样呢??呵呵,没有看到过这车的发动机形式
回复 支持 反对

使用道具 举报



该用户从未签到

发表于 15-9-2009 08:48:30 | 显示全部楼层
我在网上找的几张图
200767154536272.jpg
200767154548177.jpg

评分

参与人数 1积分 +4 收起 理由
清雅轩 + 4 热心人士【论坛口号→知无不言,言无不尽】

查看全部评分

回复 支持 反对

使用道具 举报



该用户从未签到

发表于 21-10-2009 11:03:11 | 显示全部楼层
哈哈,很清晰的说明,谢谢LZ
回复 支持 反对

使用道具 举报



该用户从未签到

发表于 21-10-2009 11:26:08 | 显示全部楼层
运动件过多,制造难度和固障模式就多,其实都是一样的效果。谁好谁坏都差不多。各家都是为避免专利才这么做的。

评分

参与人数 1积分 +2 收起 理由
清雅轩 + 2 鼓励讨论【重在参与,不以对错论英雄】

查看全部评分

回复 支持 反对

使用道具 举报



该用户从未签到

发表于 21-10-2009 16:16:47 | 显示全部楼层
对,楼上说得对,要避免侵犯别家的专利,只能越搞越复杂~
回复 支持 反对

使用道具 举报



该用户从未签到

发表于 22-10-2009 10:33:19 | 显示全部楼层
nissan的vvel和其他的可变气门技术有那些优劣势哟?
回复 支持 反对

使用道具 举报



该用户从未签到

发表于 22-10-2009 11:28:41 | 显示全部楼层
太难懂了,要好好研究下了,总觉得变升程是个比较复杂的问题
回复 支持 反对

使用道具 举报



该用户从未签到

发表于 7-11-2009 09:42:48 | 显示全部楼层
让人震撼的解说,以上都各有千秋,了不起。
回复 支持 反对

使用道具 举报

快速发帖

您需要登录后才可以回帖 登录 | 注册

本版积分规则

QQ|手机版|小黑屋|Archiver|汽车工程师之家 ( 渝ICP备18012993号-1 )

GMT+8, 7-11-2025 08:27 , Processed in 0.413959 second(s), 50 queries .

Powered by Discuz! X3.5

© 2001-2013 Comsenz Inc.