中国汽车工程师之家--聚集了汽车行业80%专业人士 

论坛口号:知无不言,言无不尽!QQ:542334618 

本站手机访问:直接在浏览器中输入本站域名即可 

  • 2107查看
  • 6回复

[设计匹配] 介绍一种转子发动机

[复制链接]


该用户从未签到

发表于 19-5-2011 22:14:23 | 显示全部楼层
jiji000 先生一再提转子发动机原理和观念 ,不知道是啥,说出来学习下!
回复 支持 反对

使用道具 举报



该用户从未签到

 楼主| 发表于 24-11-2010 16:27:13 | 显示全部楼层 |阅读模式

汽车零部件采购、销售通信录       填写你的培训需求,我们帮你找      招募汽车专业培训老师


介绍一种转子发动机
   介绍一种新型转子发动机,其独特的结构使得该种发动机极其简单,没有任何的往复运动部件,结构十分紧凑。
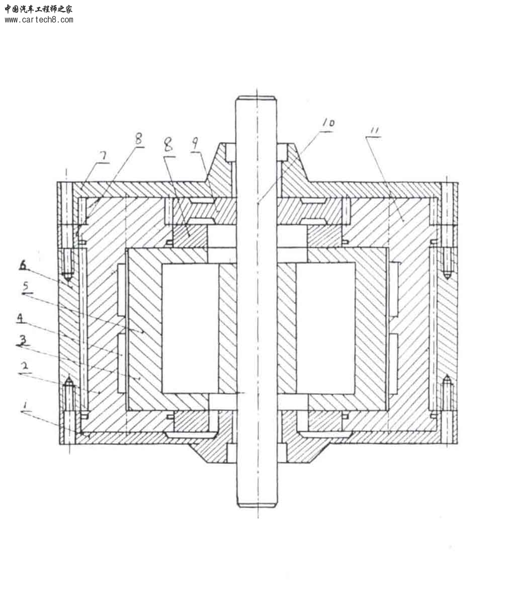
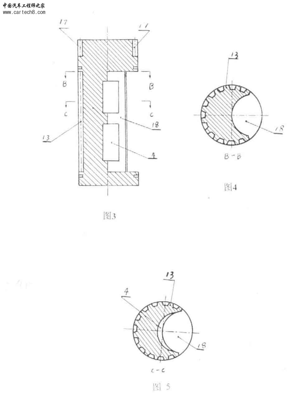
   本转子发动机的基本结构如附图1-5所示:1-端盖、2-密封轮、3-齿型叶片、4-密封轮沟槽、5-转子、6-缸体、7-端盖、8-隔板、9-同步齿轮、10-主轴、11-密封轮、12-排气口、13-密封齿、14-密封条、15-进气口、16-火花塞口、17-密封轮同步齿、18-密封轮凹槽、19、20-进气压缩工作腔、21-排气作功工作腔。
   发动机的缸体内壁是一个大圆与两个小圆对称相切的型面,两端面由端盖及中间隔板封闭,缸体的大圆内安装转子,两个小圆内安装密封轮,其中一只密封轮的两边缸体上开有进排气口,转子的表面有密封齿,还有对称布置的两个齿型叶片,密封轮的表面开有凹槽,凹槽内又开有横向沟槽,密封轮的一端有同步齿,转子主轴的一端装有同步齿轮,与两只密封轮的同步齿相啮合,来保证转子与密封轮同步运转。
   转子的直径与密封轮直径之比为2∶1,转子转一周,密封轮转两周,转子齿型叶片的齿型曲线与密封轮凹槽的型面曲线为:密封轮凹槽的型面曲线是转子与密封轮同步运转时,转子叶片顶端上的点在密封轮圆上扫过的轨迹,转子齿型叶片的型面曲线是由转子与密封轮同步运转时,密封轮凹槽两边开口上的点在齿型叶片顶点到转子轴心为半径的圆上所扫过的两条相交的轨迹所围成。
   进排气口处的密封轮的位置相当于往复活塞式发动机的下止点,另一密封轮的位置相当于上止点,转子旋转时就在转子齿形叶片的前后形成了容积不断变化的两个工作腔,由于密封轮的隔离,两个齿形叶片的前后共有四个工作腔,每个工作腔各司其责,分别完成进气、压缩、做功、排气的工作。设发动机转子为顺时针运转,从发动机的进气口到上止点的两个工作腔分别为进气和压缩工作腔,从上止点到排气口的两个工作腔分别为做功和排气工作腔,转子旋转时,进气工作腔的容积不断增大,可燃混合气通过进气口被吸入气缸,同时压缩工作腔的容积不断缩小,前一工作循环吸入的可燃混合物被压缩,随着转子继续旋转上止点密封轮凹槽与压缩工作腔逐渐相连通,可燃混合气被压缩,随着转子继续旋转,转子齿型叶片将进入并通过密封轮凹槽,在齿型叶片通过密封轮凹槽的过程中,密封轮凹槽的两边开口处始终与齿型叶片的两个型面保持紧密接触,可燃混合气被封闭在密封轮的凹槽内,并通过密封轮凹槽内的横向沟槽由齿型叶片的前面转移到了齿型叶片的后面,事实上混合气在密封轮凹槽中的位置并未改变,可以理解为转子齿型叶片密封轮凹槽中扫过,因此混合气转换路径为零。混合气转换完成或将要完成时,在适当的时刻通过火花塞点火,混合气燃烧爆发,推动转子齿型叶片作功,同时排气工作腔的上一个工作循环的废气被从排气口排出。                       
   图6-图13为本发动机一个工作循环的工作原理示意图:图6-图7 进气行程,图8-图9 压缩行程,图10-图11 作功行程,图12-图13 排气行程。
   本发动机与常规活塞式发动机相比具有以下性能特点:
   1,本发动机无活塞连杆、气门机构,零件总数大大降低,与常规发动机相比,至少降低一半以上,生产本发动机的原材料及加工成本大大降低。
   2,常规发动机曲轴旋转两周(720°)作功一次(180°),本文介绍的发动机主轴旋转一周(360°)两只齿型叶片各作功约(165°),本发动机单缸即相当于四缸常规发动机,在相同的转速及汽缸容积下,功率质量比大幅提高,是常规发动机的三倍以上。
   3,本文介绍的发动机没有任何的往复运动部件,所有运动部件均为旋转运动,彻底根除了往复运动的惯性带来的危害,运动部件的工作可靠性大大提高。
   4,燃烧室(密封轮凹槽)具有理想的形状,在其中还可以根据需要设计出副燃烧室及预燃室等,这在柴油发动机的设计中十分重要。
   5,常规发动机工作腔的吸气过程只占发动机整个工作过程的四分之一,且与排气过程有一定的重合角,充气过程是断续的,进气枝管内混合气的流动是脉动的,本文介绍的发动机进排气互不干涉,无进排气重叠角,进气口可设计的较大,并且汽缸的充气过程是连续的,均匀流畅,充气效率高,提高了发动机的最大功率。
   6,转子主轴的扭矩为恒定的最大值,主轴扭力只与燃气压力有关,动力输出比较均匀,振动轻微,同进气过程一样,排气过程也是均匀连续的,因而排气躁音低,工作安静。
   本发动机的技术重点及解决的方法:
   1,发动机工作腔的密封比起常规发动机要困难得多,密封元件的润滑及散热工作条件较差,可以参照汪克尔型三角活塞转子发动机中工作腔的密封方法来解决。
   2,转子齿型叶片两齿面与密封轮凹槽的密封,密封轮凹槽特别是开口处要用耐高温高强度耐磨材料制作,齿型叶片两型面也要用高强度材料制造,可以制成弹性元件镶装在齿型叶片两面。
   3,同步齿轮及密封轮同步齿的精度及耐久性要求较高,为了保证发动机工作时转子及密封轮有精确的相对位置而不发生相互干涉,同步齿轮在保证强度的前提下其齿型应选用尽可能小的摸数及合理的齿型,合理设计转子齿型叶片顶端密封条的厚度以及转子密封齿的形状及摸数,可使转子与密封轮的相对位置有一定的宽容度。
   4,为了保证合理的点火时间,火花塞在实际的产品中必须安装在密封轮中,其安装方法如图14所示,柴油发动机中,火花塞的位置则改装喷油器。
   往复活塞式发动机的各项指标现已达到了相当高的水平,由于其本身结构的限制,进一步提高性能将变的非常困难;为此,人们经过不懈的努力,发明了许多转子发动机,已投入使用的为德国工程师汪克尔发明的三角活塞转子发动机,其性能大大超过常规发动机,这在历届国际汽车大赛中,日本马自达的转子发动机汽车的出色表现中得到证明;本文介绍的转子发动机,不仅具有汪克尔型转子发动机的所有优点,其性能还有较大的提高,简述如下:
   1,汽缸型线为简单的圆形,比起汪克尔型发动机的双弧长短辐圆外旋轮线型线要简单的多,加工工艺简单,无须昂贵的专业机床。
   2,汪克尔型发动机由于结构上的原因,提高压缩比将使燃烧室变的很不紧凑,发动机尺寸变大,偏心轴将相应变细,强度得不到保证,限制了在柴油发动机中的应用;本文介绍的转子发动机,压缩比可根据需要来设计而不影响结构及强度,通过控制密封轮凹槽中横向沟槽的容积,可以设计出合适的压缩比,最高压缩比可达20以上,可以方便地应用于汽油发动机及柴油发动机中。
   3,由于结构的原因,汪克尔型发动机的配气正时是由转子角顶控制的,因此在几何学上决定了进排气口具有很大的进排气重叠角,在低转速时容易串气,因而进排气口的设置很难兼顾低速性和动力性的问题,特别是进气口的布置比较复杂;本文介绍的转子发动机无进排气重叠角,进排气互不干涉,进排气口可设计的较大,进气口的设置只需要周面进气即可满足要求,保证了发动机的动力性及低速性能。
   4,汪克尔型发动机的燃烧室由于结构上的原因,具有较大的表面积,很不紧凑,火焰传播效果不理想;本文介绍的发动机的燃烧室是密封轮的凹槽,结构紧凑,具有较小的表面积和理想的形状,火焰传播距离短,并且由于转子齿型叶片从中扫过,具有强烈的扰流作用,因而具有较高的动力性和经济性。
   本文介绍的转子发动机,将使发动机的性能提高到一个新的水平,它的各项指标理论上不仅远远高于常规发动机,并且比汪克尔三角活塞转子发动机的许多指标有较大的提高,具有较高的使用价值。就目前的机械加工技术水平来看,开发生产本发动机基本上没有技术难题,绝大部分零部件的生产技术及工艺均可利用常规活塞发动机及汪克尔型转子发动机零部件的现有生产技术及工艺;发动机生产企业利用现有设备即可开发生产,现有发动机的各种先进的技术均可应用于本转子发动机中(如单片机控制燃油喷射系统,无触点电子点火,三元催化,废气再循环等)。
   本发动机具有广泛的应用范围,可取代目前在车辆、船舶等交通工具上应用的各型发动机,由于具有体积小、重量轻、功率大以及躁音低的特点,还非常适用于航空器特别是轻型航空器上使用本发动机。
   本发动机的结构原理,不仅适用于内燃机,还适用于蒸汽及燃气轮机,只要取消上止点处的密封轮及密封轮腔即可,高压蒸气或燃气从进气口进入工作腔推动转子齿型叶片做功,然后从排气口排出。通过改变进排气口的位置,可以方便地改变汽轮机的转向,在大型船舶及铁路机车中非常适用。本发动机的结构原理还可以应用于各种液体泵、气泵、液压马达等行业中,并且每转排量大大高于普通齿轮泵,具有较高的效率。
   本发动机应用于航空发动机中其结构稍有不同,除了直接应用本结构外,还有一种外燃式结构;简述如下:
   进气压缩与做功排气分别由两套转子及汽缸完成,每个转子的齿型叶片为4片,均匀分布;密封轮凹槽为2处,对称分布;每个汽缸上的进排气口各为2对;两套汽缸及转子轴向串联,另设两套独立的燃烧室,分别与压缩汽缸的排气口及作功汽缸的进气口相连;燃烧室的结构可参考涡喷发动机等的结构,其余结构及工作原理与前述发动机相同,只不过把内燃式改为外燃式;另外作功汽缸排出的废气仍然具有一定的压力,为了进一步提高功率及效率,可再串接一级作功汽缸,使燃气进一步充分膨胀,同时也降低了排气污染。本结构的最大特点是极大地提高了发动机的功率,估计其功重比可接近涡轮螺浆喷气发动机的水平;并降低了对发动机的密封要求,可以不用密封元件,现有的机械加工水平即可满足密封要求。
   如各位同仁对本发动机感兴趣,请与我联系以便共同探讨。
001.JPG
002.jpg
003.jpg


专利权人:于洪金
专 利 号:ZL 03218224.4
电   话:13375669900   
    邮   箱:yhj1963@163.com


该用户从未签到

发表于 26-11-2010 10:46:50 | 显示全部楼层
伤心,不要想了,转子发动机的观念是错误的,你要恨几十年前提出转子发动机的人,他让你的时间和精力打了水漂
回复 支持 反对

使用道具 举报



该用户从未签到

发表于 26-11-2010 11:23:34 | 显示全部楼层
转子式发动机的原理是优秀,但是成本是没法控制的,所以商用是很少的!
回复 支持 反对

使用道具 举报



该用户从未签到

发表于 26-11-2010 17:29:40 | 显示全部楼层
优秀??????????????????、你懂个啥,让齿轮承受2000度高温,让几顿的压力反向压到齿形活塞上由什么支撑,问题多了,,,,,,,,,,,,,,,,,,外行
回复 支持 反对

使用道具 举报



该用户从未签到

发表于 27-11-2010 18:49:44 | 显示全部楼层
师傅啊!它的,密封轮和转子的散热和润滑怎么解决啊,19、20-进气压缩工作腔、21-排气作功工作腔。和转子的密封是发动机最大的缺点呀。
回复 支持 反对

使用道具 举报



该用户从未签到

发表于 28-11-2010 19:14:36 | 显示全部楼层
伤心,不要想了,转子发动机的观念是错误的,你要恨几十年前提出转子发动机的人,他让你的时间和精力打了水 ...
jiji000 发表于 26-11-2010 10:46



  油耗高、寿命短、成本高。存在致命的问题。
回复 支持 反对

使用道具 举报

快速发帖

您需要登录后才可以回帖 登录 | 注册

本版积分规则

QQ|手机版|小黑屋|Archiver|汽车工程师之家 ( 渝ICP备18012993号-1 )

GMT+8, 13-11-2025 18:14 , Processed in 0.435476 second(s), 41 queries .

Powered by Discuz! X3.5

© 2001-2013 Comsenz Inc.