中国汽车工程师之家--聚集了汽车行业80%专业人士 

论坛口号:知无不言,言无不尽!QQ:542334618 

本站手机访问:直接在浏览器中输入本站域名即可 

  • 1371查看
  • 3回复

[结构原理] 低功耗双离合变速箱 (遂道式)附图

 关闭 [复制链接]


该用户从未签到

发表于 2-1-2011 13:13:16 | 显示全部楼层 |阅读模式

汽车零部件采购、销售通信录       填写你的培训需求,我们帮你找      招募汽车专业培训老师


请个位师傅们给予指点
五、具体实施方式
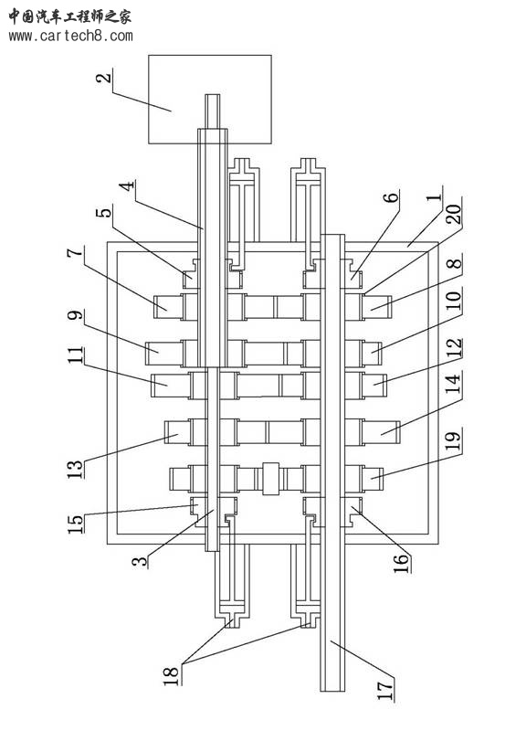
如图所示,本实用新型包括壳体1,壳体1内设有奇数档输入轴3、套装在奇数档输入轴3外侧的偶数档输入轴4、输出轴17、奇数档主、被动齿和偶数档主、被动齿,主、被动齿之间相互啮合。主、被动齿通过轴承20固定在壳体1内。奇数档输入轴3的两端连接在壳体1的两侧,偶数档输入轴4的中部连接在壳体1一侧,奇、偶数档输入轴3、4从壳体1穿出与双合器2连接。输出轴17的两端连接在壳体1的两侧,其从壳体1穿出与差数器连接。输出轴17贯穿于被动齿的内齿孔内,其上设有可与奇、偶数档被动齿内齿相啮合的奇、偶数档被动啮合齿16、6。奇、偶数档输入轴3、4分别贯穿于奇、偶数档主动齿的内齿孔内,奇、偶数档输入轴3、4上分别设有可与奇、偶数档主动齿内齿相啮合的奇、偶数档主动啮合齿15、5。上述的啮合齿5、15、6、16通过花键定位在轴上并在液压柱塞18的带动下沿轴体左右移动,即啮合齿从动或带动输入、出轴转动的同时,还可沿轴体的径向左右滑动。这样,当其与主、被动齿啮合后,即可从动或带动于主、被齿。奇数档主动齿包括一档主动齿11、三档主动齿13;偶数档主动齿包括二档主动齿7、四档主动齿9。奇数档被动齿包括一档被动齿12、三档被动齿14;偶数档被动齿包括二档被动齿8、四档被动齿10。图中19为倒档齿轮组,其上的主、被动齿套在奇数档输入轴及输出轴的外侧,主、被动齿的内齿可与奇数档主、被动啮合齿15、16相啮,并由它们实现传动。

   简单的说是,输入轴4.和输出轴17.为花键轴,花键毂5.6套装在输入轴4和输出轴17.上.花键毂5,6可以在输入轴4,17上左右移动,与传动齿7.8内齿相啮合,将动力通过输入轴由传动齿经过花键毂在由输出轴传递给差速器。完成做工。

1 clip_image002.jpg     齿轮.jpg   

.壳体  2.双离合器  3.奇数档输入轴  4.偶数档输入轴  5.花键毂  6.花键毂  7.二档主动齿  8.二档被动齿  9.四档主动齿  10.四档被动齿  11.三档主动齿   
12.三档被动齿  13.一档主动齿  14.一档被动齿  15.花键毂  16.花键毂  17.输出轴  18.液压柱塞  19.倒档齿轮组  20.轴承

    QQ:543057634                 13941326602          李赫鹏


该用户从未签到

发表于 13-1-2011 21:29:24 | 显示全部楼层
太复杂,没看明白
没看到挂档的装置,比如同步器
回复 支持 反对

使用道具 举报



该用户从未签到

 楼主| 发表于 18-1-2011 19:24:38 | 显示全部楼层
回复 2# horatio007


    所述的.花键毂5.6. 通过花键定位在输入和输出轴4.17上,并可沿输入和输出轴体4.17左右移动。换档时,就可以由液压柱塞18. 有选择的驱动花键毂5.6.所需档位或档的主、被动齿。其它主、被动齿保持静止不动,降低了动力消耗。
齿轮.jpg
回复 支持 反对

使用道具 举报



该用户从未签到

 楼主| 发表于 5-2-2012 14:28:57 | 显示全部楼层
horatio007 发表于 13-1-2011 21:29
太复杂,没看明白
没看到挂档的装置,比如同步器

请看优酷网 低功耗(2)接力式变速箱  或转到下面网址    http://v.youku.com/v_show/id_XMzQwNTIwODcy.html   就能看懂了
回复 支持 反对

使用道具 举报

快速发帖

您需要登录后才可以回帖 登录 | 注册

本版积分规则

QQ|手机版|小黑屋|Archiver|汽车工程师之家 ( 渝ICP备18012993号-1 )

GMT+8, 10-4-2026 11:02 , Processed in 0.409517 second(s), 40 queries .

Powered by Discuz! X3.5

© 2001-2013 Comsenz Inc.