中国汽车工程师之家--聚集了汽车行业80%专业人士 

论坛口号:知无不言,言无不尽!QQ:542334618 

本站手机访问:直接在浏览器中输入本站域名即可 

  • 1490查看
  • 8回复

[结构原理] 低功耗双离合变速箱(随道式)重发

 关闭 [复制链接]


该用户从未签到

发表于 24-1-2011 21:24:56 | 显示全部楼层 |阅读模式

汽车零部件采购、销售通信录       填写你的培训需求,我们帮你找      招募汽车专业培训老师


请师傅们给以指教  
        简单的说,变速箱做工时,本技术只有两个传动齿轮做工,其余的传动齿轮都静止不动,无动力消耗。本技术的目的,就是想减小传动力在变速箱里的消耗,使每一组传动齿做工时,左右相邻的传动齿都静止不动,达到目的。重点:工艺制造低.无档位拨差.无齿环.无中间轴,比所以变速箱.更简单.更便宜,更容易维修。如果应用在竞技赛车的变速箱上更能体现出本技术的优点。
   
低功耗双离合变速箱(随道式)
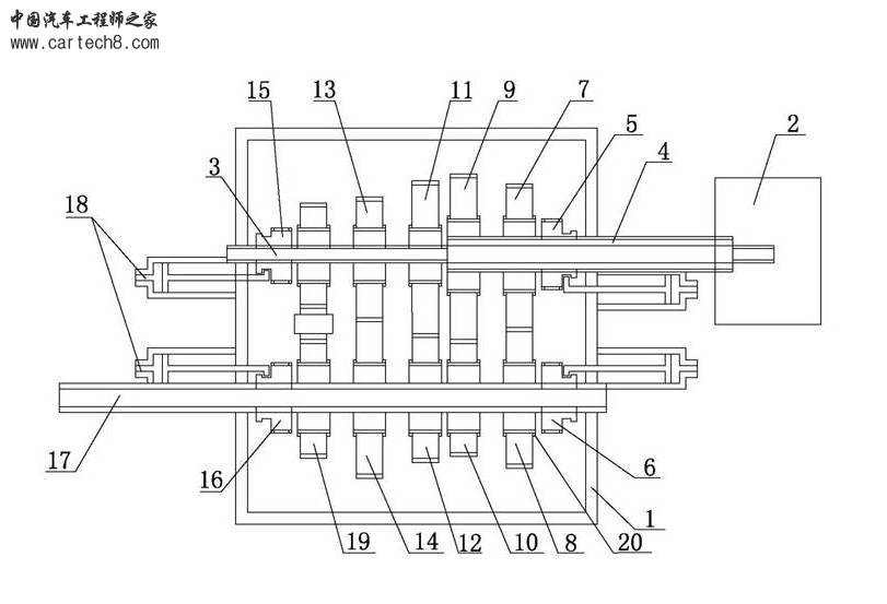
五、具体实施方式      如图所示,本实用低新型包括壳体1,壳体1内设有奇数档输入轴3、套装在奇数档输入轴3外侧的偶数档输入轴4、输出轴17、奇数档主、被动齿和偶数档主、被动齿,主、被动齿之间相互啮合。主、被动齿通过轴承20固定在壳体1内。奇数档输入轴3的两端连接在壳体1的两侧,偶数档输入轴4的中部连接在壳体1一侧,奇、偶数档输入轴3、4从壳体1穿出与双合器2连接。输出轴17的两端连接在壳体1的两侧,其从壳体1穿出与差数器连接。输出轴17贯穿于被动齿的内齿孔内,其上设有可与奇、偶数档被动齿内齿相啮合的奇、偶数档被动啮合齿16、6。奇、偶数档输入轴3、4分别贯穿于奇、偶数档主动齿的内齿孔内,奇、偶数档输入轴3、4上分别设有可与奇、偶数档主动齿内齿相啮合的奇、偶数档主动啮合齿15、5。上述的啮合齿5、15、6、16通过花键定位在轴上并在液压柱塞18的带动下沿轴体左右移动,即啮合齿从动或带动输入、出轴转动的同时,还可沿轴体的径向左右滑动。这样,当其与主、被动齿啮合后,即可从动或带动于主、被齿。奇数档主动齿包括一档主动齿11、三档主动齿13;偶数档主动齿包括二档主动齿7、四档主动齿9。奇数档被动齿包括一档被动齿12、三档被动齿14;偶数档被动齿包括二档被动齿8、四档被动齿10。图中19为倒档齿轮组,其上的主、被动齿套在奇数档输入轴及输出轴的外侧,主、被动齿的内齿可与奇数档主、被动啮合齿15、16相啮,并由它们实现传动。   
变速箱.jpg
1.壳体  2.双离合器  3.奇数档输入轴  4.偶数档输入轴  5.花键毂  6.花键毂  7.二档主动齿  8.二档被动齿  9.四档主动齿  10.四档被动齿  11.三档主动齿 12.三档被动齿  13.一档主动齿  14.一档被动齿  15.花键毂  16.花键毂  17.输出轴  18.液压柱塞  19.倒档齿轮组  20.轴承

见下图(工作原理图一二三)
     所述的花键毂5.6.通过偶数档输入轴4.和输出轴17定位在两轴上,并在液压柱塞18的带动下沿两轴体左右移动。偶数档输入轴4.和输出轴17 为(花键状)。花键毂5.6.内外经为齿牙状。
  电 13941326602     李赫鹏          QQ 543057634
齿轮.jpg

  • TA的每日心情
    开心
    1-7-2015 19:30
  • 签到天数: 2 天

    [LV.1]初来乍到

    发表于 25-1-2011 10:28:06 | 显示全部楼层
    看不太懂啊,各组齿轮都是相啮合在一起的,空挡是怎么断开的呢
    花键毂5、6、15、16是怎么来传递动力的,啮合到主动齿轮的轴心处吗,要是这样的话,齿轮又是怎么装配定位的啊,能否描述下详细的档位传递路线
    小弟学习中,谢谢
    回复 支持 反对

    使用道具 举报

    

    该用户从未签到

     楼主| 发表于 25-1-2011 11:19:41 | 显示全部楼层
    看不太懂啊,各组齿轮都是相啮合在一起的,空挡是怎么断开的呢?
    答:通过花键毂5.6在偶数档输入轴4.和输出轴17两轴体上左右移动,花键毂5.6左右移动是靠液压柱塞18的带动下沿两轴体左右移动。空挡的断开是将花键毂5.6通过液压柱塞18的带动下处于两传动齿之间的位置,比如传动齿7.9.之间的空位。就是空挡位。

    问 : 花键毂5、6、15、16是怎么来传递动力的,
    答:花键毂5.6.15.16.内.外经为齿牙状,花键毂内齿牙套装在传动轴外齿牙上,并延轴体左右移动.花键毂外齿牙与传动齿内齿牙相齿合.见(工作原理图二)

    问:齿轮又是怎么装配定位的啊?
    答:所有齿轮由轴承20.固定在变速箱内,偶数档输入轴4.和输出轴17贯穿与主、被动齿内腔,4.17轴体前后端用轴承固定在变速箱内。
    回复 支持 反对

    使用道具 举报

    

    该用户从未签到

     楼主| 发表于 30-8-2011 21:33:24 | 显示全部楼层
    回复 peiwenfeng2002 的帖子

    朋友给你看个视频希望点评谢谢http://v.youku.com/v_show/id_XMjQ3NzA1NDQw.html
    回复 支持 反对

    使用道具 举报

    

    该用户从未签到

    发表于 25-8-2011 09:28:13 | 显示全部楼层
    看不太懂啊,各组齿轮都是相啮合在一起的,空挡是怎么断开的呢
    回复 支持 反对

    使用道具 举报

    

    该用户从未签到

    发表于 30-12-2011 12:53:35 | 显示全部楼层
    还不是手动档吗?如果是自动也是AMT,换挡时有冲击。
    回复 支持 反对

    使用道具 举报

    

    该用户从未签到

     楼主| 发表于 5-2-2012 14:23:19 | 显示全部楼层
    武邺 发表于 25-1-2011 10:28
    看不太懂啊,各组齿轮都是相啮合在一起的,空挡是怎么断开的呢
    花键毂5、6、15、16是怎么来传递动力的,啮 ...

    请看优酷网 低功耗(2)接力式变速箱  或转到下面网址    http://v.youku.com/v_show/id_XMzQwNTIwODcy.html  
    回复 支持 反对

    使用道具 举报

    

    该用户从未签到

     楼主| 发表于 5-2-2012 14:24:58 | 显示全部楼层
    peiwenfeng2002 发表于 25-8-2011 09:28
    看不太懂啊,各组齿轮都是相啮合在一起的,空挡是怎么断开的呢

    请看优酷网 低功耗(2)接力式变速箱  或转到下面网址    http://v.youku.com/v_show/id_XMzQwNTIwODcy.html  
    回复 支持 反对

    使用道具 举报

    

    该用户从未签到

     楼主| 发表于 5-2-2012 14:26:32 | 显示全部楼层
    gonestone 发表于 30-12-2011 12:53
    还不是手动档吗?如果是自动也是AMT,换挡时有冲击。

    请看优酷网 低功耗(2)接力式变速箱  或转到下面网址    http://v.youku.com/v_show/id_XMzQwNTIwODcy.html   就能看懂了
    回复 支持 反对

    使用道具 举报

    快速发帖

    您需要登录后才可以回帖 登录 | 注册

    本版积分规则

    QQ|手机版|小黑屋|Archiver|汽车工程师之家 ( 渝ICP备18012993号-1 )

    GMT+8, 30-3-2026 01:00 , Processed in 0.415264 second(s), 43 queries .

    Powered by Discuz! X3.5

    © 2001-2013 Comsenz Inc.