中国汽车工程师之家--聚集了汽车行业80%专业人士 

论坛口号:知无不言,言无不尽!QQ:542334618 

本站手机访问:直接在浏览器中输入本站域名即可 

  • 770查看
  • 0回复

帕萨特电路图。图片显示 高清数码相机拍摄

[复制链接]


该用户从未签到

发表于 1-6-2011 09:57:02 | 显示全部楼层 |阅读模式

汽车零部件采购、销售通信录       填写你的培训需求,我们帮你找      招募汽车专业培训老师


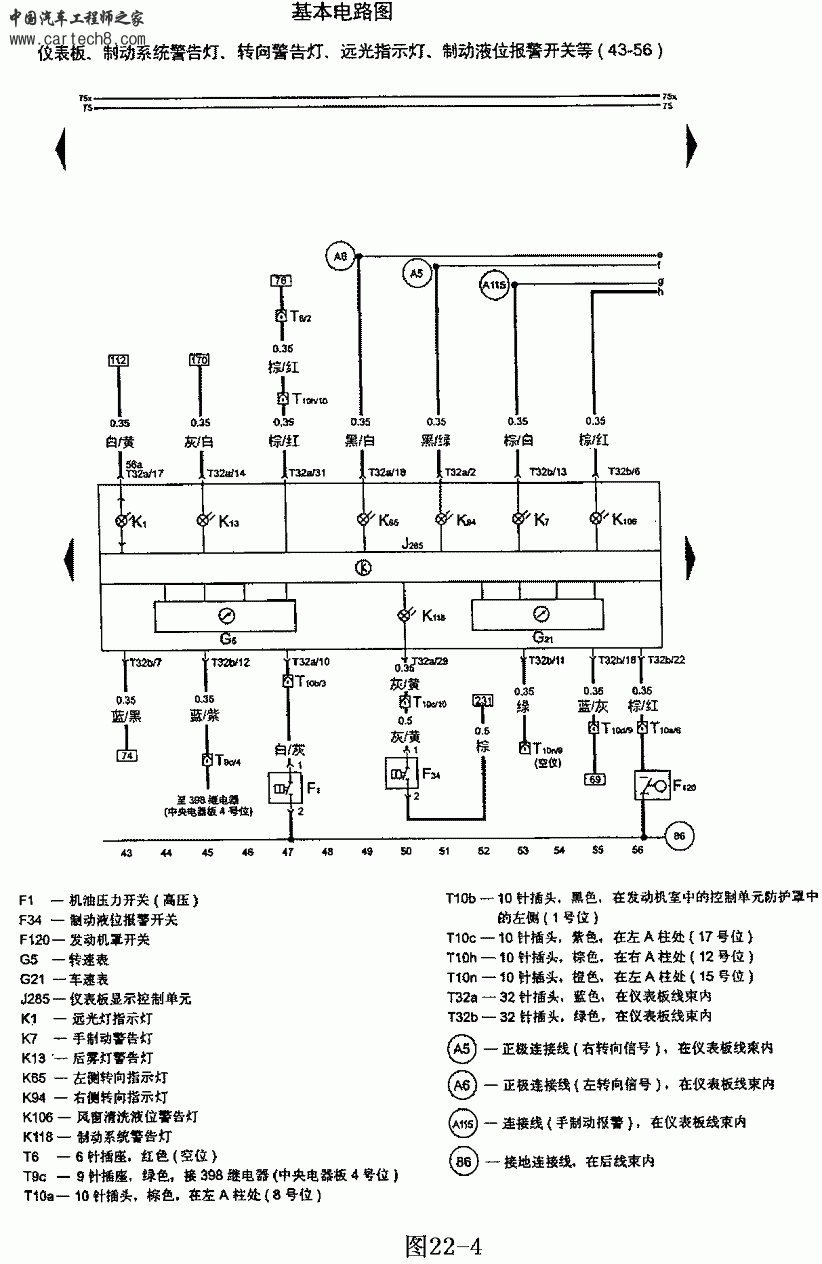
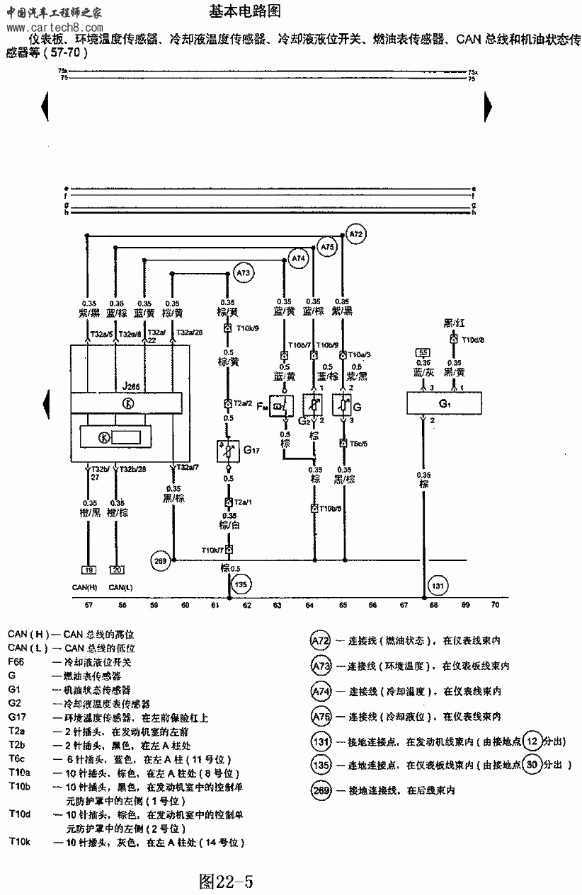
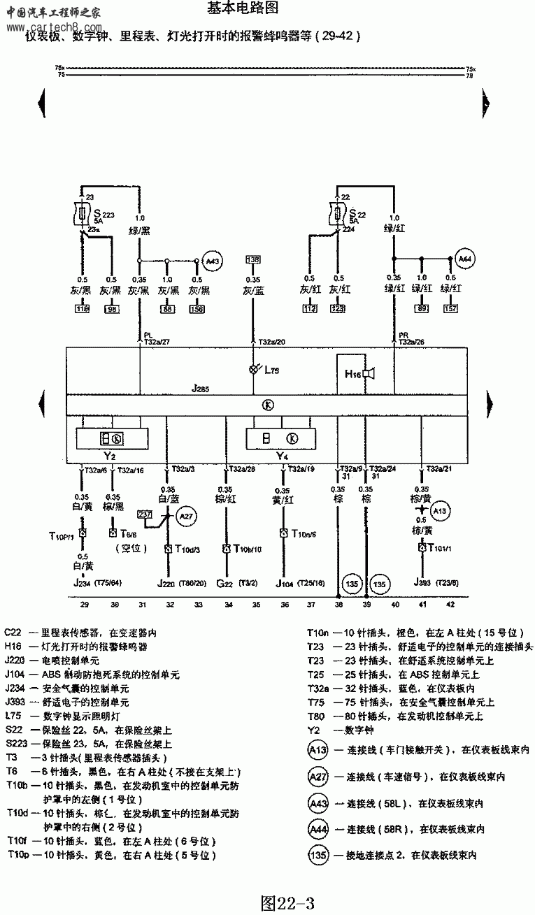
本人在4s店工作时候留下来的珍贵资料图 t22-42.gif t22-09.gif t22-08.gif t22-07.gif t22-06.gif t22-05.gif t22-04.gif t22-03.gif t22-01.gif

快速发帖

您需要登录后才可以回帖 登录 | 注册

本版积分规则

QQ|手机版|小黑屋|Archiver|汽车工程师之家 ( 渝ICP备18012993号-1 )

GMT+8, 10-4-2026 09:49 , Processed in 0.437097 second(s), 33 queries .

Powered by Discuz! X3.5

© 2001-2013 Comsenz Inc.